Dyson patenteaza uscatorul silentios pentru par
 
                            
                            
	Compania este cunoscuta pentru multele sale inventii, printre acestea aflandu-se si aspiratorul silentios.
                        
                        
                                                                                
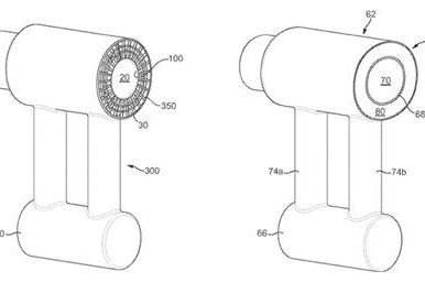
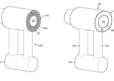
Condusa de Sir James Dyson, compania care se lauda ca a patentat uscatorul de par care nu face galagie dupa ce una dintre cele mai haioase nascociri, roaba cu minge in loc de roata (pentru o manevrabilitate mult mai usoara), nu a afost primita cu prea mare entuziasm. Conform dosarului trimis spre aprobare, aparatul are o camera "izolatoare" care absoarbe sunetul emis de motor.
Uscatoarele de par sunt, in general, destul de zgomotoase, unele emitand sunete care ajung cu usurinta la 75 de decibeli, echivaland, astfel, galagia produsa de un aspirator. Secretul uscatorului propus de Dyson sta in faptul ca aerul circula mai usor prin camera izolatoare care nu doar ca absoarbe sunetul dar face si ca aerul sa circule mai repede ceea ce usureaza munca motorului, mai mic si mai usor, dar si mai silentios.
Dyson este una dintre companiile cele mai profitabile din Marea Britanie, profitul pe anul 2012 find de 364 de milioane de lire sterline (la o cifra de afaceri de 1,2 miliarde de lire). Compania a anuntat de curand ca doreste sa angajezele inca 250 de ingineri care sa lucreze la viitoarele proiecte.