Cât de curând vom vedea primii ochelari smart de la Apple

Se pregătește Apple să lanseze primii ochelari smart din istoria companiei?
Potrivit unui patent înregistrat de curând, lucrurile așa par să stea. Apple lucrează în acest moment la primii ochelari smart din istoria companiei care vor îmbina Realitatea Virtuală și Augmentată.
Din nefericire, PhoneArena precizează că cel mai devreme i-am putea vedea pe piață prin 2022 sau 2023. Așadar, mai avem de așteptat.
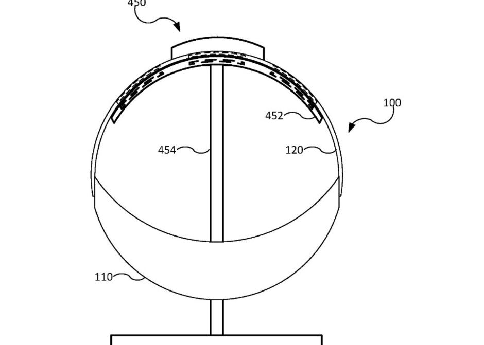
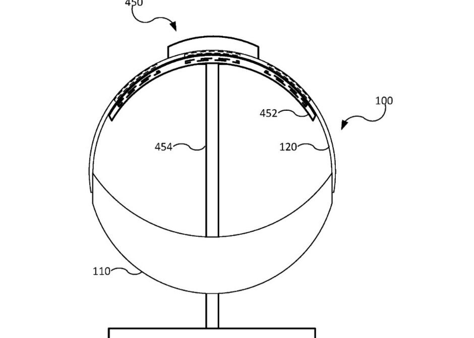
Până în prezent, Apple a lucrat mai mai multe tehnologii care ar urma să fie incluse în acești ochelari. În primul rând, vorbim despre Display System, un patent care arată cum va putea fi montat întregul dispozitiv.
Mai mult, Apple a lucrat și la un sistem de reglare a ochelarilor ca să se poată adapta de la user la user.

Patentul intitulat „Electronic Decice With a Display Attached to a Lens Element” vorbește despre modul în care display-ul va fi fixat de așa natură încât nu va permite formarea imaginilor blurate și acumularea de praf și mizerie.
Mai mult, Apple a înregistrat și un patent care ar urma să fie un sezon de detectare a obiectelor din jur, astfel încât să poată preveni accidentele.
