Apple a pus mana pe o tehnologie impresionanta! Cum vor sa dea lovitura acolo unde Samsung a esuat

Cei de la Apple vor sa aduca pe piata tehnologia vazuta in filmul Minority Report.
Apple a primit acceptul pentru un brevet interesant - un control 3D prin gesturi ca in filmul Minority Report cu Tom Cruise, lansat in 2002.
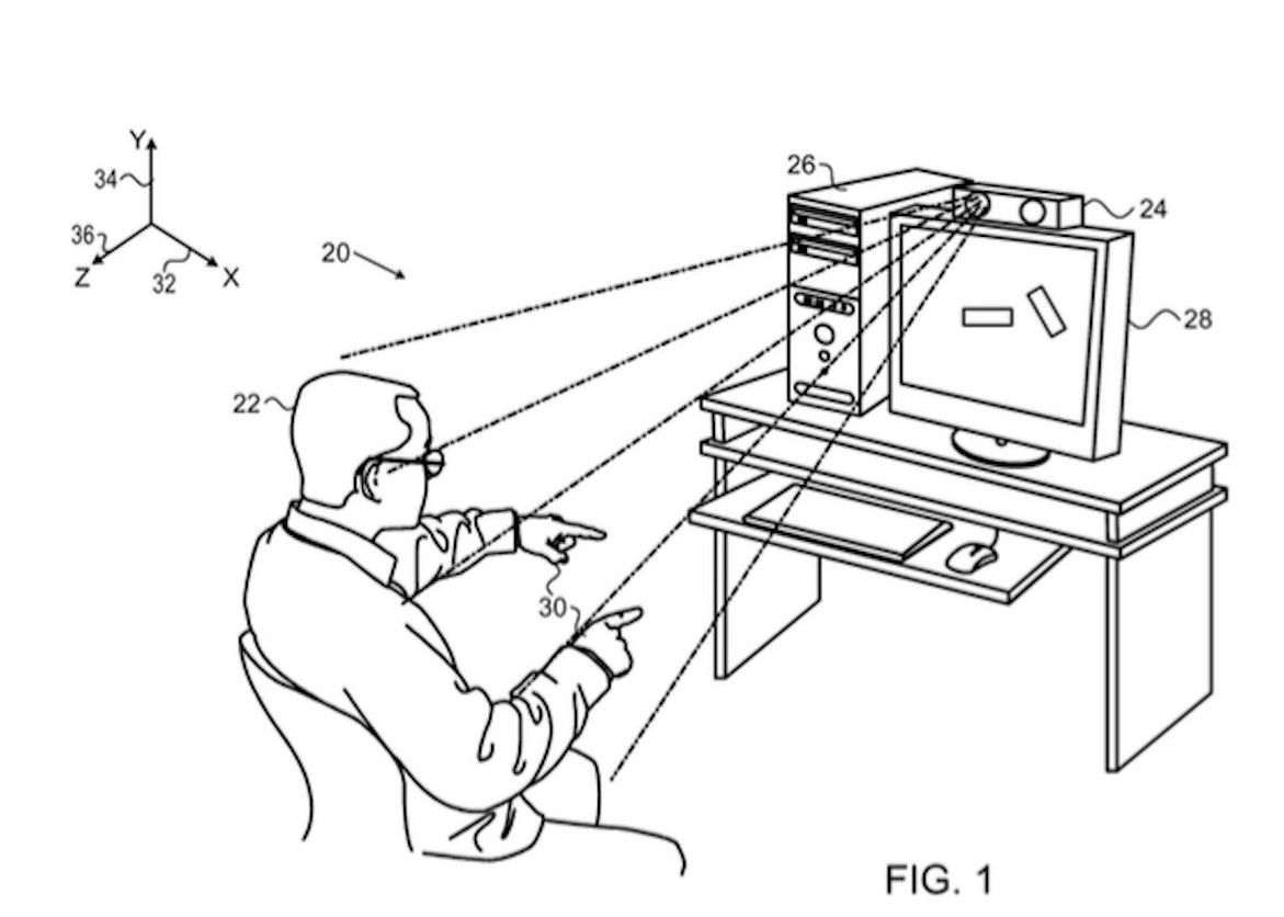
Brevetul numarul 8933876 in Statele Unite face referire la "controlul tridimensional al interfatei userului". Ceea ce inseamna ca va fi folosita camera pentru a urmari miscarea userului in trei dimensiuni, apoi folosirea acelei miscari pentru a controla interfata userului pe ecran.

Diagramele incluse in brevet arata tehnologia fiind folosita pentru a controla un calculator. Dar poate fi aplicata si pentru Apple TV, sau pentru device-urile cu iOS. Exista si telefoane Samsung ce folosesc tehnologie similara numita "Air Gestures".
Este important de mentionat ca Apple face cerere petnru mii de brevete fara ca acestea sa devina produse reale. Aceste brevete sunt de cele mai multe ori folosite pentru a bloca rivalii in a produce ceva similar sau pentru a le distrage atentia. Insa, in acest caz, exista un precedent.
Controlul gesturilor deja exista intr-o anumita forma, insa nu a 'prins' cu adevarat. Microsoft le foloseste pentru hardware-ul Xbox Kinect, iar smart TV-urile Samsung le includ. Asa cum spuneau cei de la DVICE in 2013, pentru Samsung "realitatea e ca nu functioneaza prea bine".
Apple are o istorie bogata in a introduce o versiune proprie a unor produse existente, obtinand un real succes cu acestea, iar un exemplu este iPad-ul.
