Ecranul viitorului. Noua inventie patentata de Apple

Este al doilea patent pe care cei de la Apple il semneaza in acest domeniu
Cei de la Apple au scris actele pentru un al doilea patent pe tema ecranului touch capabil sa detecteze mai multe niveluri de presiune, cu alte cuvinte va sti daca utilizatorul apasa mai tare sau mai incet si va putea integra acest lucru in softuri inteligente, care sa ii ofere telefonului noi functionalitati. Un patent asemanator a aparut si anul trecut, insa acesta detaliaza mai bine modul in care functioneaza tehnologia.
Toti producatorii de smartphone-uri lucreaza in prezent la crearea unei interfete mai prietenoase, iar Apple ar putea incasa potul cel mare cu aceasta tehnologie. Un ecran care simte cat de tare apesi poate transforma modul in care interactionam cu telefonul mobil. Pana si felul in care deblocam ecranul va fi mai personalizat, pentru ca sistemul de operare poate memora in care puncte apasam mai puternic si in care mai usor. Apoi, producatorii de jocuri si de aplicatii vor gasi la randul lor noi utilizari pentru aceasta tehnologie aflata la inceput.
Din momentul in care apare un patent, dureaza pana cand ideea intra in practica, astfel ca e putin probabil sa gasim aceasta inventie pe iPhone 6.
Noul patent detaliaza modul in care senzorii de presiune integrati pot fi folositi impreuna cu tehnologia care exista deja pentru a crea o experienta imbunatatita pentru utilizator.
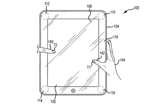
Potrivit documentelor, noul ecran ar urma sa contina cel putin 3 senzori de presiune pe langa dotarile standard ale unui display multitouch pentru iPhone sau iPad.
Cand o forta e detectata de senzori, punctul in care se afla aceasta poate fi triangulat, pentru a detecta locul in care s-a produs, scrie gizmodo.
