Apple a primit brevet pentru un ecran flexibil care ar putea fi folosit la iPhone

Brevetul cerut în iunie 2016 a fost obținut de curând.
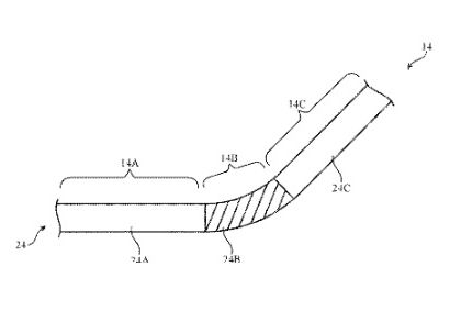
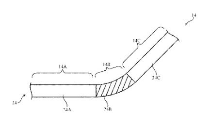
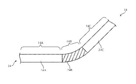
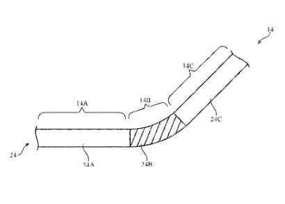
În desenele care însoțesc brevetul putem vedea un ecran flexibil, care se îndoaie la mijloc.
Pentru a preveni distrugerea ecranului în zona unde are loc plierea, Apple propune folosirea unui material special, elastic.
Ecranul acesta ar putea fi folosit pentru un model de iPhone din generațiile viitoare.
Mai multe zvonuri apărute încă de anul trecut menționau anul 2020 ca data la care producătorul american ar putea lansa un iPhone pliabil.
Telefonul se va putea transforma astfel și în tabletă, precizează Phone Arena.
