Apple intra in cursa pentru lansarea unui smartphone pliabil! Pregateste un iPhone incredibil
 
                            Apple va lansa un iPhone care se va plia ca o carte.
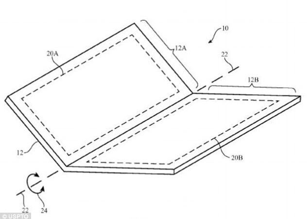
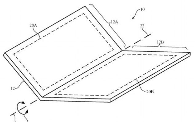
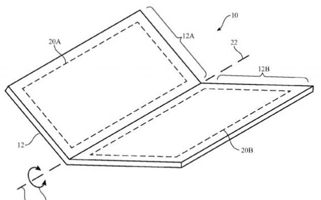
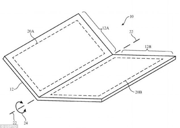
Compania Apple a cerut deja brevet pentru un smartphone pliabil, care deocamdata nu a primit un nume.
Expertii spun ca proiectul va fi realizat probabil in parteneriat cu LG, care va furniza ecranul.
Si Samsung pregateste un smartphone pliabil, care ar putea fi prezentat chiar in ianuarie.
Conform aplicatiei pentru brevet, telefonul va avea o parte flexibila, care va permite dispozitivul sa se plieze ca o carte, scrie Daily Mail.
Ecranul va avea o tehnologie de ultima generatie, MicroOLED, care va inlocui vechiul OLED de pe iPhone X. Dispozitivul pliabil ar putea fi un iPhone sau un iPad.

Conform publicatiei coreene The Investor, Apple va realizat gadgetul in parteneriat cu LG Display.
LG are deja cateva prototipuri de ecrane flexibile. Unul se indoaie ca o carte, iar altul se ruleaza asemeni unui ziar (vezi poza de sus).
Insa productia noului gadget pliabil de la Apple va incepe abia in 2020, cred specialistii.
