Apple pregateste un iPhone care se va deschide ca o carte. Cand va fi lansat telefonul

Noul iPhone va avea ecran pliabil si va putea fi transformat in tableta.
Conform unui raport publicat de Bank of America Merrill Lynch, mai multi furnizori asiatici au confirmat ca lucreaza la un ecran pliabil pentru Apple.
Acest telefon, care se va putea transforma in tableta, ar putea fi lansat in 2020, scrie Daily Mail.
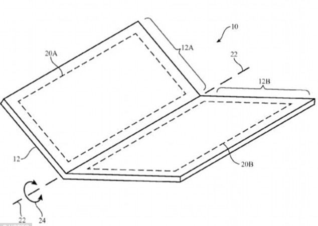
Apple a obtinut brevetul pentru realizarea unui telefon care se deschide ca o carte inca din luna noiembrie 2017. Telefonul va avea ecran flexibil, care se va putea indoi de la jumatate.
Noul iPhone ar putea fi realizat in parteneriat cu LG Display, care va produce ecranul flexibil.
Nu doar Apple are in vedere aceasta schimbare radicala de design pentru urmatoarele modele de smartphone. Si Samsung, Lenovo si ZTE vor telefoane pliabile, iar unele companii au facut deja primii pasi in aceasta directie.
ZTE a prezentat deja in octombrie 2017 primul telefon pliabil, Axon M, care are doua ecrane ce pot fi folosite separat sau se pot transforma intr-o tableta.
De asemenea, Lenovo a prezentat Folio, un prototip care are ecran flexibil si poate fi folosit ca telefon sau ca tableta, atunci cand este desfasurat.
Totodata, reprezentantii Samsung au anuntat ca vor sa lanseze chiar anul acesta primul telefon pliabil al companiei.