Apple va produce un iPhone care nu se poate zgâria sau îndoi

Producătorul american a obținut un brevet pentru folosirea unei noi tehnologii.
În martie 2017, Apple a cerut acordarea unui brevet pentru o nouă tehnologie care va fi introdusă pe iPhone, iar brevetul a fost deja obținut.
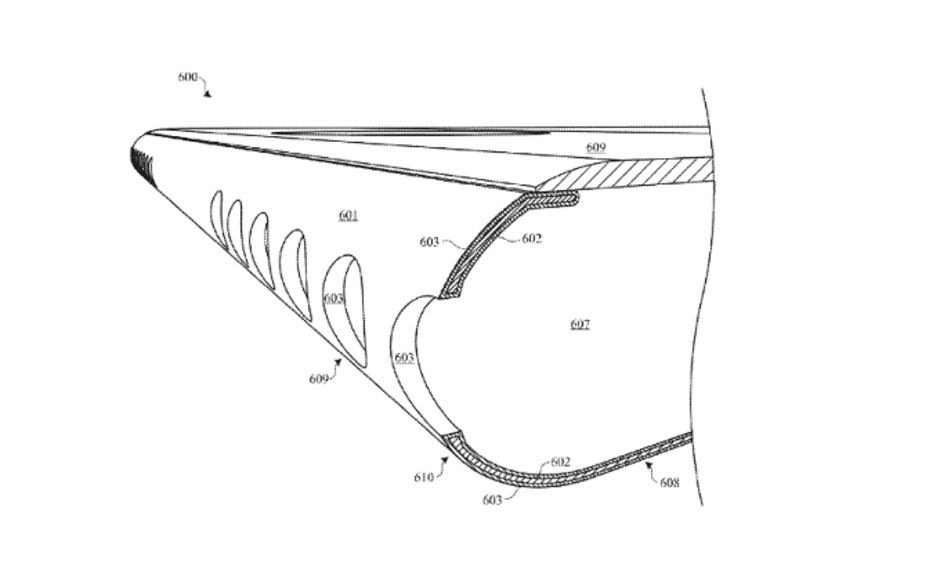
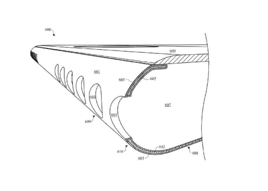
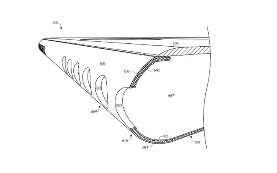
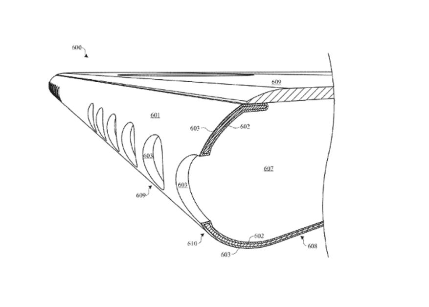
Din desene putem vedea un dispozitiv care va fi rezistent la orice fel de zgârieturi sau lovituri. Telefonul va fi mult mai rezistent, datorită unui înveliș exterior foarte dur, care ar putea fi fabricat din ceramică sau carbon și va avea rezistența unui diamant.
Grosimea învelișului exterior va de numai 3-5 micrometri, iar sub acesta se va afla un strat intermediar, cu o grosime de 8-30 micrometri, explică Phone Arena.

În plus, noul înveliș care va oferi mai multă rezistență noului iPhone va avea și un rol estetic important. Stratul exterior de protecție va fi lucios, de culoare neagră și foarte plăcut la atingere.
Noua tehnologie ar putea fi folosită și pe alte dispozitive, precum tablete, ceasuri inteligente sau laptopuri.
