Apple va produce un smartphone cu ecran flexibil, care infasoara telefonul

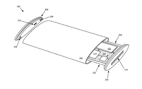
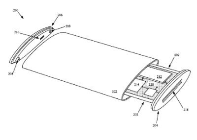
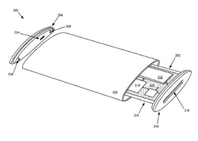
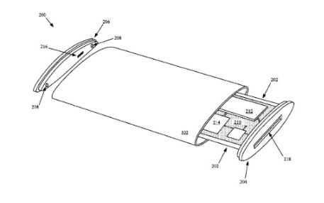
Apple a obtinut brevetul pentru a produce un gadget cu ecran care se infasoara in jurul carcasei.
Conform noului brevet, continutul va putea fi vizionat din orice pozitie, pe orice parte a ecranului, iar butoanele fizice de pe margini vor fi inlocuite cu butoane virtuale, scrie Phone Arena.
De asemenea, dispozitivul ar putea avea doua interfete diferite. Una va fi conceputa pentru partea centrala a ecranului si alta pentru portiunile periferice.
Un brevet similar a fost primit de Apple si in 2015. In acel proiect, exista un al doilea ecran flexibil, care oferea un efect tridimensional. In plus, ecranul care se infasoara in jurul telefonului poate oferi optiunea multi-display.

Avand in vedere ca acesta este al doilea brevet obtinut de Apple pe o idee de acest fel, e foarte posibil ca tehnologia sa fie aplicata in scurt timp.
Insa nu vorm vedea un smartphone cu ecran de acest fel mai devreme de anul 2020, cred specialistii.