Atenție, fragil! Apple e aproape să ia o decizie curajoasă, iar următorul iPhone să fie complet din sticlă

Să însemne acest lucru faptul că trebuie să ne pregătim să ne schimbăm mai des telefonul?
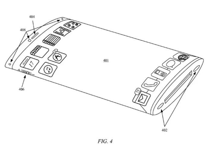
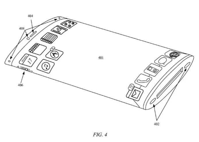
Business Insider a publicat recent o informație conform căreia Apple a înregistrat un patent nou pentru iPhone în care unul dintre viitoarele modele ar urma să fie 100% din sticlă.
Deși la prima vedere chiar pare spectaculos și ar putea impresiona din raționamente estetice, iPhone ar putea deveni un telefon mult prea fragil pentru orice utilizator obișnuit să-și scape lunar telefonul pe jos.
Ceea ce Apple pregătește cu acest design este în realitate un înveliș oval, de sticlă, care pare să fie fără margini și fără butoane.
Odată cu acest design complet nou, și piața accesoriile va cunoaște unele schimbări.
Dacă vom vorbi despre un telefon cu display dual, pe ambele fețe, fără margini metalice, atunci o întreagă industrie concentrată în jurul telefoanelor de la Apple ar putea să dispară, și anume producătorii de huse de iPhone.
Apple a refuzat să comenteze informațiile obținute de sursa citată.