Motorola confirmă că noul RAZR va fi un telefon pliabil! Lovitură pentru Samsung și Huawei

Dan Dery, vicepreședinte Motorola, a confirmat pentru publicația Engadged că noul RAZR va fi un smartphone pliabil.
După ce Samsung și Huawei au prezentat telefoane pliabile la MWC 2019, Motorola a confirmat zvonul potrivit căreia pregătește la rândul său un gadget de acest fel. Este vorba de noul RAZR, care va fi diferit de prima versiune și va avea ecran pliabil.
Motorola lucrează de mult timp la conceperea unui smartphone pliabil, iar acesta va fi lansat în curând, a precizat Dan Dery, însă fără să anunțe de dată de lansare.
Noul RAZR nu va semăna însă cu telefoanele pliabile produse de Samsung și Huawei. Nu va avea ecranul spre exterior, ci spre interior, astfel încât să fie cât mai protejat de lovituri și zgârieturi.
Prin urmare, telefonul RAZR se va plia de la mijloc, dar cu ecranul spre interior, scrie Mashable.
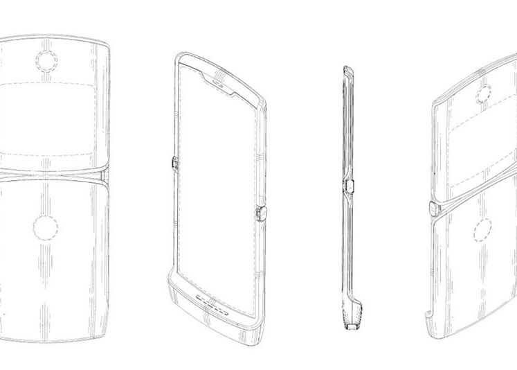
Desenele care însățesc un brevet primit de Motorola în decembrie 2018 arată un telefon cu design similar unui RAZR, care cu ecran pliabil.
Dacă Motorola va urma acest concept, atunci telefonul va avea un ecran mic, dar va fi ușor de transportat în buzunar.
Foto: Global Design Database
Urmărește cele mai importante știri ale zilei, pe ProTv Plus!