Apple se pregateste sa lanseze o masina? Iata ce sistem SF a patentat

Mai multe raze laser si camere video vor fi folosite la acest proiect.
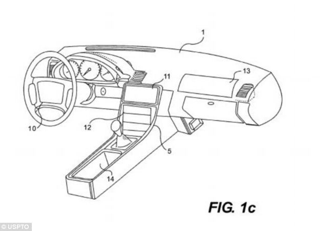
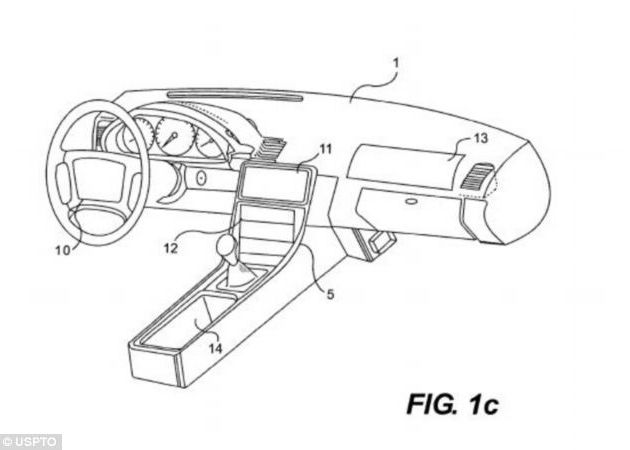
Apple a inregistrat patentul unui sistem revolutionar pentru automobile, un bord precum un urias touchscreen. Numit Digital Dash, bordul masinii viitorului este conceput de Tim Pryor, un canadian creditat drept inventatorul tehonologiei.

Noul bord ar putea intra in fabricatie in 2014, foloseste sistemul de operare iOS 7 si poarta numele oficial de "display programabil tactil care se foloseste de interfata om - masina pentru a imbunatati navigatia". Camerele cu care va fi dotat acest bord vor detecta pozitia capului soferului pentru ca informatia sa fie afisata in cel mai optim mod cu putinta.

Bordul arata precum unul care se poate intalni pe masinile actuale, se conecteaza wirelles la iPhone, iar razele laser dispuse in anumite puncte pot urmari privirea utilizatorului si-l pot atentiona pe acesta daca a neglijat semnele de circulatie intalnite pe marginea drumului. Ineditul sta in faptul ca, pentru a arata precum un bord traditional, display-ul de mari dimensiuni este modelat astfel incat sa imite butoanele care se gasesc in masinile din ziua de azi.