O noua tehnologie permite soferului sa vada prin caroseria masinii! Cum scapa de "unghiul mort"

Toyota va dezvolta o tehnologie revolutionara.
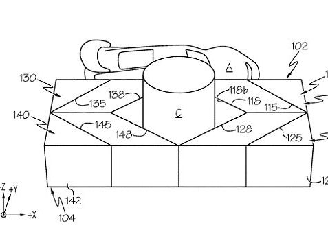
Compania Toyota a obtinut brevetul pentru o noua tehnologie, care va permite soferului sa vada prin elementele caroseriei.
Astfel, el va beneficia de o vizibilitate la 360 de grade asupra soselei si nu va mai fi nevoit sa se uite la fiecare intersectie printre elementele de caroserie care sustin parbrizul, scrie Daily Mail.

Cu ajutorul acestei tehnologii, obiectele vor deveni practic transparente. Sistemul va fi aplicat pe elementele care sustin parbrizul de o parte si de alta si care de obicei obstructioneaza vederea soferului.
Sistemul va folosi oglinzi, care vor fi amplasate in asa fel incat vor indoi razele de lumina in jurul obiectului, permitand soferului sa vada prin el, ca si cand ar fi transparent.

In acest fel, soferul nu va mai avea niciun "unghi mort". Aceasta problema de vizibilitate este una dintre principalele cauze ale accidentelor rutiere.
Deocamdata nu se stie cand ar urma sa fie folosita aceasta tehnologie pe masinile Toyota.