Smartphones

LG a lansat Q Stylus, un rival mid-range pentru Galaxy Note 8
LG a lansat Q Stylus, un rival mid-range pentru Galaxy Note 8 
Epuizat in 37 de secunde! Un nou flaghip care s-a vandut in timp record
Epuizat in 37 de secunde! Un nou flaghip care s-a vandut in timp record 
Samsung ia masuri radicale dupa dezamagirea cu Galaxy S9! Ce specificatii va avea urmatorul flagship
Samsung ia masuri radicale dupa dezamagirea cu Galaxy S9! Ce specificatii va...

Producatorul coreean ar putea face modificari importante la Galaxy S10, care va fi lansat anul viitor.

Asus a lansat ROG Phone, un smartphone special pentru gameri
Asus a lansat ROG Phone, un smartphone special pentru gameri 
Se apropie lansarea Samsung Galaxy Note 9! Noul phablet va fi prezentat mai devreme decat ne asteptam
Se apropie lansarea Samsung Galaxy Note 9! Noul phablet va fi prezentat mai devreme... 
Primele imagini cu iPhone 9 si X Plus! Ce vor avea diferit modelele din acest an
Primele imagini cu iPhone 9 si X Plus! Ce vor avea diferit modelele din acest an 
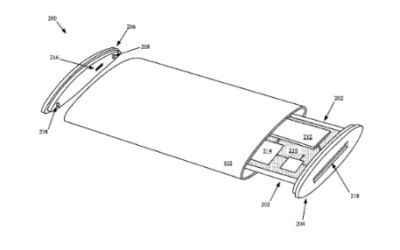
Apple va produce un smartphone cu ecran flexibil, care infasoara telefonul
Apple va produce un smartphone cu ecran flexibil, care infasoara telefonul 
Experiment cu final surprinzator! Ce s-a intamplat cand a vrut sa deblocheze telefonul folosind o fotografie
Experiment cu final surprinzator! Ce s-a intamplat cand a vrut sa deblocheze telefonul... 
Primele imagini cu Pixel 3 si Pixel 3 XL! Schimbari importante fata de modelele anterioare
Primele imagini cu Pixel 3 si Pixel 3 XL! Schimbari importante fata de modelele anterioare 

Urmărește-ne pe:

Modifică setările cookies