Smartphones

Concluzia neașteptată a unui studiu: ce telefon s-a defectat cel mai des în ultimele luni?
Concluzia neașteptată a unui studiu: ce telefon s-a defectat cel mai des în...

Un raport realizat de compania Blancco prezintă cât de frecvent s-au stricat telefoanele mobile în primele luni ale acestui an.

Video inedit! Comparație între iPhone X și noile modele iPhone 9 și 9 Plus
Video inedit! Comparație între iPhone X și noile modele iPhone 9 și 9 Plus 
Noul Huawei Mate 20 Pro ar putea avea ecran OLED flexibil
Noul Huawei Mate 20 Pro ar putea avea ecran OLED flexibil 
Cum arată Finney, telefonul cu două ecrane și tehnologie blockhain promovat de Lionel Messi
Cum arată Finney, telefonul cu două ecrane și tehnologie blockhain promovat de... 
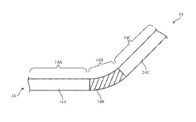
Apple a primit brevet pentru un ecran flexibil care ar putea fi folosit la iPhone
Apple a primit brevet pentru un ecran flexibil care ar putea fi folosit la iPhone 
Au început precomenzile pentru Sony XZ2 Premium. Cât costă rivalul iPhone X
Au început precomenzile pentru Sony XZ2 Premium. Cât costă rivalul iPhone X 
Imagini oficiale cu Galaxy Note 9. Cât de mult seamănă noul phablet cu versiunea anterioară?
Imagini oficiale cu Galaxy Note 9. Cât de mult seamănă noul phablet cu versiunea... 
Xiaomi va lansa un nou flagship cu procesor Snapdragon 845 
Xiaomi va lansa un nou flagship cu procesor Snapdragon 845  
HMD Global pregătește un nou smartphone mid-range: Nokia X5
HMD Global pregătește un nou smartphone mid-range: Nokia X5 

Urmărește-ne pe:

Modifică setările cookies